找回密码
 注册会员

QQ登录

只需一步,快速开始

搜索
楼主: xiaoxini

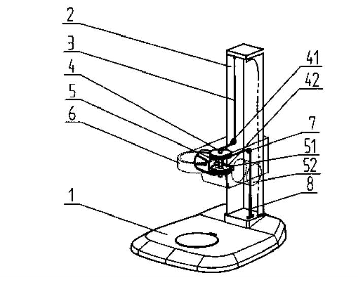
图中垂直升降的机构是什么机构?

 火... [复制链接]
发表于 2014-12-2 17:00:07 | 显示全部楼层
丝杠。螺母。蜗轮。蜗杆。可以了
发表于 2014-12-2 21:40:20 | 显示全部楼层
挺难的哦
发表于 2014-12-3 15:45:53 | 显示全部楼层
升降机构是丝杆螺母,立柱是固定在底座上,大理石台面也是固定在底座上的
发表于 2014-12-3 17:16:12 | 显示全部楼层
只看到有直线导轨,其他的看不到!应该是齿轮齿条传动,这样简洁一些
发表于 2017-3-13 21:55:21 | 显示全部楼层
我也想知道这个机器内部的具体结构,看它的样子好像没有外置的电机,是没用电机?如果没用电机那它是怎么实现启动的啊?
发表于 2017-5-12 06:25:57 | 显示全部楼层
升降是丝杠,立柱与底面连接应该是预埋的结构,做过混凝土床身的机床。
发表于 2017-5-12 19:17:59 | 显示全部楼层
这种测试仪器不是齿轮齿条,因为齿与齿之间有间隙,是无牙丝杆(你可以把它相称滚珠丝杆和螺母)加导轨,
发表于 2023-10-12 09:43:14 | 显示全部楼层
丝杆模组
回复

使用道具 举报

发表于 2023-10-12 13:59:53 | 显示全部楼层
一图胜千言
2.jpg
3.jpg
您需要登录后才可以回帖 登录 | 注册会员

本版积分规则

Archiver|手机版|小黑屋|机械社区 ( 京ICP备10217105号-1,京ICP证050210号,浙公网安备33038202004372号 )

GMT+8, 2025-10-21 22:33 , Processed in 0.085325 second(s), 17 queries , Gzip On.

Powered by Discuz! X3.5 Licensed

© 2001-2025 Discuz! Team.

快速回复 返回顶部 返回列表