找回密码
 注册会员

QQ登录

只需一步,快速开始

搜索
查看: 437|回复: 17

各位,请教一下腰形孔的标注问题

  [复制链接]
发表于 昨天 10:32 | 显示全部楼层 |阅读模式
这两种腰形孔标注都该怎么理解

标注1

标注1

标注2

标注2
回复

使用道具 举报

发表于 昨天 10:52 | 显示全部楼层
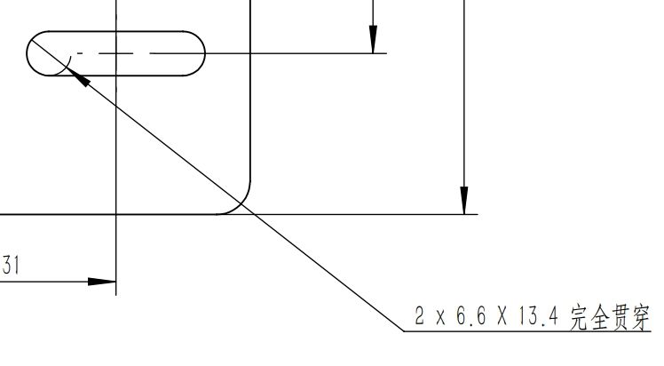
上面是9个半径为4.5宽度为2.5完全贯穿的腰孔,下面是2个半径为6.6宽度为13.4完全贯穿的腰孔

点评

大识鬼  发表于 昨天 20:41
 楼主| 发表于 昨天 11:01 | 显示全部楼层
摸鱼惯犯 发表于 2025-10-13 10:52
上面是9个半径为4.5宽度为2.5完全贯穿的腰孔,下面是2个半径为6.6宽度为13.4完全贯穿的腰孔 ...

上面这里为什么要多个-
发表于 昨天 11:02 | 显示全部楼层
有国标要求,老老实实查国标去。
发表于 昨天 11:04 | 显示全部楼层
一般都是指最大外形尺寸,但我也见过圆心距的,最好是跟设计确认一下

点评

圆心距的是老标注,以前的标注是防止老人痴呆,看图要会算数的。  发表于 昨天 11:17
发表于 昨天 11:08 | 显示全部楼层
摸鱼惯犯 发表于 2025-10-13 10:52
上面是9个半径为4.5宽度为2.5完全贯穿的腰孔,下面是2个半径为6.6宽度为13.4完全贯穿的腰孔 ...

啊这。。还能这么理解吗

点评

我不是专业的,而且我也不会这样标注,所以我只能按照我的习惯来理解,错了就是画图的问题  发表于 昨天 11:27
发表于 昨天 11:40 | 显示全部楼层
摸鱼惯犯 发表于 2025-10-13 10:52
上面是9个半径为4.5宽度为2.5完全贯穿的腰孔,下面是2个半径为6.6宽度为13.4完全贯穿的腰孔 ...

9-2.5X4.5
发表于 昨天 14:04 | 显示全部楼层
这种标注是哪个规范,
发表于 昨天 14:28 | 显示全部楼层
不要这样标注 看似省事,到时候 出问题了,一定是你背锅,国标也没有这样的标注方法,一般是一个2个圆弧的中心距,再加一个槽宽,圆弧就标注R(不带数字,因为是相切,是你槽宽的一半,不用标注),如果这个槽相对于你的零件太小,标注不下,需要局部放大视图。不要给自己挖坑,
发表于 昨天 14:55 | 显示全部楼层
PixPin_2025-10-13_14-54-51.png

点评

最好标注两个圆心,这样便于加工,省得在计算找中心点,还有标注公差符号后面再加上上下偏差值,这样省得加工人员和检查人员再去查找偏差  发表于 昨天 17:46
您需要登录后才可以回帖 登录 | 注册会员

本版积分规则

Archiver|手机版|小黑屋|机械社区 ( 京ICP备10217105号-1,京ICP证050210号,浙公网安备33038202004372号 )

GMT+8, 2025-10-14 04:26 , Processed in 0.065344 second(s), 20 queries , Gzip On.

Powered by Discuz! X3.5 Licensed

© 2001-2025 Discuz! Team.

快速回复 返回顶部 返回列表