找回密码
 注册会员

QQ登录

只需一步,快速开始

搜索
查看: 4801|回复: 17

怎么设计一种除草机构,既可以公转又能自转

[复制链接]
发表于 2024-5-1 18:27:29 | 显示全部楼层 |阅读模式
四个爪齿安装在转盘上,主轴通过键与转盘连接在一起,电机驱动主轴转动时带动转盘一起旋转,转盘上的爪齿先绕着主轴公转,当检测到作物植株时,爪齿绕自身轴线进行反向自转,从而躲避植株,爪齿形成的轨迹线是余摆线(除草机构安装在机架上),怎么设计这样一种机构呢?

评分

参与人数 1威望 +1 收起 理由
喂我袋盐 + 1 图片要上传,复制粘贴别人看不见。

查看全部评分

回复

使用道具 举报

发表于 2024-5-2 07:11:20 | 显示全部楼层
现在都激光除草机器人了

点评

那个能耗太高,不划算的。最直接的就是物料除草。  发表于 2024-5-2 14:57
发表于 2024-5-2 11:13:14 | 显示全部楼层
来图说明
回复

使用道具 举报

发表于 2024-5-2 11:36:56 | 显示全部楼层
我觉得一个电机一个拉簧就行。电机一直割草,检测到植物,拉簧拉动大臂,往回转就行。
 楼主| 发表于 2024-5-2 11:37:44 | 显示全部楼层

轨迹是类似于这样子的
机构类似于这种
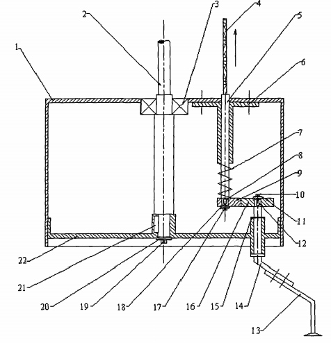
我设计的机构是这个,但老师说我的机构活动度为零,实现不了我要的运动
 楼主| 发表于 2024-5-2 11:39:49 | 显示全部楼层
鹿子衿 发表于 2024-5-2 11:36
我觉得一个电机一个拉簧就行。电机一直割草,检测到植物,拉簧拉动大臂,往回转就行。

拉簧机构怎么设计呢?现在就是不太清楚怎么设计这个机构,将他们组合到一起
发表于 2024-5-2 15:05:32 | 显示全部楼层

(⊙ˍ⊙) fā gè zhào piàn .PNG






 楼主| 发表于 2024-5-2 16:18:59 | 显示全部楼层

轨迹图是类似于这样的下面是我设计的,但老师说活动度为零,活动爪齿是动不了的,现在也不知道该咋改进了




 楼主| 发表于 2024-5-2 23:23:29 | 显示全部楼层


图1

图1

图2

图2

图3

图3




图4.png
图5.png
图7.png
图6.png


图1

图1

图3

图3

图4

图4

轨迹图1

轨迹图1
图7.png

这是我设计的机构,但是老师说他自由度为零,活动爪齿动不了,我现在也不知道咋改进了

这是我设计的机构,但是老师说他自由度为零,活动爪齿动不了,我现在也不知道咋改进了
发表于 2024-5-3 08:09:57 | 显示全部楼层
学渣渣 发表于 2024-5-2 07:11
现在都激光除草机器人了

@华2017  如果植物和草距离太近,如何除草
您需要登录后才可以回帖 登录 | 注册会员

本版积分规则

Archiver|手机版|小黑屋|机械社区 ( 京ICP备10217105号-1,京ICP证050210号,浙公网安备33038202004372号 )

GMT+8, 2025-10-20 08:12 , Processed in 0.505530 second(s), 20 queries , Gzip On.

Powered by Discuz! X3.5 Licensed

© 2001-2025 Discuz! Team.

快速回复 返回顶部 返回列表